浙江东日(600113)3月9日披露2023年年报。2023年,公司实现营业总收入8.86亿元,同比下降3.52%;归母净利润2.07亿元,同比增长29.00%;扣非净利润1.50亿元,同比增长10.99%;经营活动产生的现金流量净额为1.76亿元,同比下降5.95%;报告期内,浙江东日基本每股收益为0.5元,加权平均净资产收益率为9.26%。公司2023年年度利润分配预案为:拟向全体股东每10股派1.8元(含税)。



以3月8日收盘价计算,浙江东日目前市盈率(TTM)约为13.46倍,市净率(LF)约为1.19倍,市销率(TTM)约为3.15倍。
数据统计显示,浙江东日近三年营业总收入复合增长率为17.65%,近三年净利润复合年增长率为80.83%。
资料显示,公司主营业务收入主要由三部分组成,分别来自于农副产品批发交易市场业务、生鲜食材配送业务(配菜业务)和豆制品生产加工领域的相关业务。
年报称,报告期内,公司主营业务收入主要由三部分组成,分别来自于农副产品批发交易市场业务(含市场交易管理、市场租赁业务)、生鲜食材配送业务(配菜业务)和豆制品生产加工领域的相关业务。2023年度,农副产品批发交易市场业务占公司营业收入比例为35.98%;生鲜食材配送业务(配菜业务)占公司营业收入比例的29.59%;豆制品生产加工领域的业务占公司营业收入比例的9.20%。另外,山西临汾、衢州龙游等项目销售配套商铺销售14954.61万元,占公司营业收入比例的16.88%。
分产品来看,2023年公司主营业务中,批发交易市场收入3.15亿元,同比增长9.43%,占营业收入的35.56%;商品销售收入2.95亿元,同比增长0.55%,占营业收入的33.36%;农批市场开发收入1.67亿元,占营业收入的18.84%。
截至2023年末,公司员工总数为1050人,同比增加3.45%,人均创收84.36万元,人均创利19.72万元,人均薪酬14.72万元,较上年同期分别变化-6.74%、24.7%、6.18%。

2023年,公司毛利率为36.96%,同比下降5.01个百分点;净利率为23.62%,较上年同期上升2.35个百分点。从单季度指标来看,2023年第四季度公司毛利率为30.78%,同比上升3.55个百分点,环比下降13.67个百分点;净利率为32.92%,较上年同期上升6.93个百分点,较上一季度上升6.89个百分点。
报告期内,公司前五大客户合计销售金额0.61亿元,占总销售金额比例为7.07%,公司前五名供应商合计采购金额0.58亿元,占年度采购总额比例为10.63%。
数据显示,2023年公司加权平均净资产收益率为9.26%,较上年同期增长1.73个百分点;公司2023年投入资本回报率为7.90%,较上年同期下降0.42个百分点。
2023年,公司经营活动现金流净额为1.76亿元,同比下降5.95%;筹资活动现金流净额-1.50亿元,同比增加2262.46万元;投资活动现金流净额8635.45万元,上年同期为1.68亿元,主要系公司安排部分临时闲置资金进行定期存放所致。
进一步统计发现,2023年公司自由现金流为4.02亿元,相比上年同期下降13.65%。
2023年,公司营业收入现金比为104.33%,净现比为84.79%。
营运能力方面,2023年,公司公司总资产周转率为0.27次,上年同期为0.31次(2022年行业平均值为0.19次,公司位居同行业4/15);固定资产周转率为2.97次,上年同期为3.44次(2022年行业平均值为7.94次,公司位居同行业13/15);公司应收账款周转率、存货周转率分别为28.23次、1.65次。
2023年,公司期间费用为1.2亿元,同比增长1123.46万元;期间费用率为13.6%,同比增长1.7个百分点。其中,销售费用同比增长6.49%,管理费用同比增长15.34%,研发费用同比增长23.67%,财务费用-569.84万元,去年同期-260.61万元。
资产重大变化方面,截至2023年年末,公司其他应收款(含利息和股利)较上年末减少86.80%,占公司总资产比重下降16.00个百分点;存货较上年末增加428.35%,占公司总资产比重上升11.51个百分点;投资性房地产较上年末增加73.03%,占公司总资产比重上升5.23个百分点;货币资金较上年末增加59.03%,占公司总资产比重上升4.53个百分点。
负债重大变化方面,截至2023年年末,公司应付账款较上年末增加160.97%,占公司总资产比重上升4.13个百分点;长期借款较上年末增加10740.53%,占公司总资产比重上升4.31个百分点;一年内到期的非流动负债较上年末增加681.94%,占公司总资产比重上升2.94个百分点;合同负债较上年末增加444.83%,占公司总资产比重上升1.89个百分点。
从存货变动来看,截至2023年年末,公司存货账面价值为5.7亿元,占净资产的24.45%。根据财报,公司本期没有计提存货跌价准备。
2023年全年,公司研发投入金额为875.74万元,同比增长23.67%;研发投入占营业收入比例为0.99%,相比上年同期上升0.22个百分点。此外,公司全年研发投入资本化率为0。

在偿债能力方面,公司2023年年末资产负债率为33.51%,相比上年末上升11.75个百分点;有息资产负债率为7.88%,相比上年末上升7.24个百分点。
2023年,公司流动比率为1.77,速动比率为1.16。
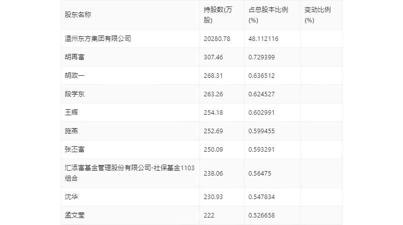
年报显示,2023年年末公司十大流通股东中,新进股东为施燕、张丕富、汇添富基金管理股份有限公司-社保基金1103组合,取代了三季度末的艾立明、施炳秀、王荣。在具体持股比例上,段学东持股有所上升,王辉、沈华持股有所下降。

筹码集中度方面,截至2023年年末,公司股东总户数为2.5万户,较三季度末下降了328户,降幅1.29%;户均持股市值由三季度末的12.56万元上升至13.85万元,增幅为10.27%。

